
10Gbps双纤双向CWDM光收发一体模块
描述
FTRS-Cxx1X-xxx型光收发模块主要应用于光背板传输、高可靠性高数据率点对点光纤通信、数字雷达阵列等各种数字光通信领域,具有体积小、抗振动、抗电磁干扰、耐湿热等特点。模块外形使用全金属结构,将发送和接收部分封装在一个小尺寸金属壳体内,采用12Pin排针电接口,发射波长为1310nm,发射通道和接收通道工作速率可到10.3125Gbps,光接口为可插拔的标准LC连接器接口,工作温度为-40~85℃。
特性描述
● 支持 10.3125G/s双向连接
● 适应于高速信号完整性的表贴I/O引脚
● 金属封装,具有较低的EMI
● 军品级温度范围,采用抗振动设计
● 内建数字诊断功能
● 3.3 V单电源供电
● 18个CWDM波长可选
应用
● 10GBASE-SR
● 高可靠性高数据率点对点光纤通信
● 数字雷达阵列
● 光背板传输
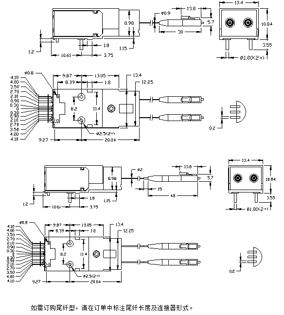
外形尺寸

非尾纤式订购信息
|
FTRS |
-Cxx |
1X |
-xx |
X |
|
双纤双向超短型CWDM光模块 |
27~61: 1270~1610nm |
1X: 10Gbps |
02 ≥2km 10 ≥10km 20 ≥20km
|
C 商业级 |
|
I 工业级 |
||||
|
M 军品级 |
备注:Cxx:27=1270,29=1290,31=1310,33=1330,35=1350,37=1370,39=1390,41=1410,43=1430,
45=1450,47=1470,49=1490,51=1510,53=1530,55=1550,57=1570,S=1590,61=1610
尾纤式订购信息
|
FTRS |
-Cxx |
1X |
-xx |
x |
-xxx |
-xx |
|
双纤双向超短型CWDM光模块 |
27~61: 1270~1610nm |
1X: 10Gbps |
02 ≥2km 10 ≥10km 20 ≥20km
|
C 商业级 |
01或01M:1米 |
LC: LC |
|
I 工业级 |
...... |
FC:FC |
||||
|
M 军品级 |
10或10M:10米 |
MT:MT ..... |
备注:Cxx:27=1270,29=1290,31=1310,33=1330,35=1350,37=1370,39=1390,41=1410,43=1430,
45=1450,47=1470,49=1490,51=1510,53=1530,55=1550,57=1570,S=1590,61=1610
注:本产品有全国产化型号可选
本产品为FTRS系列,仅展示部分参数,如有需要,请联系我们。
Important Notice
Performance figures, data and any illustrative material provided in this data sheet are typical and must be specifically confirmed in writing by F-tone Networks before they become applicable to any particular order or contract. In accordance with the F-tone Networks policy of continuous improvement specifications may change without notice.
The publication of information in this data sheet does not imply freedom from patent or other protective rights of F-tone Networks or others. Further details are available from any F-tone Networks sales representative.